최근 금양의 특허 건수에 대한 논란이 뜨겁습니다. 하지만 특허 숫자만으로 금양의 기술력을 평가절하하는 것은 나무만 보고 숲을 보지 못하는 것과 같습니다. 단언컨대, 특허는 양보다 질이며, 모든 기술을 특허로 공개하는 것이 항상 최선의 전략은 아닙니다. 특허를 회피해서 공개된 기술을 무단 도용하는 사례가 빈번하게 발생하고 있기 때문입니다.
최근 중국 기업들의 지식재산 침해가 갈수록 노골화되고 있고, 배터리 및 2차전지는 그 특성상 외형만으로 내부 구조가 쉽게 파악되지 않아 기술이 유출되더라도 특허 침해 여부를 확인하고 입증하기 어려운 애로가 있습니다.
100년이 넘는 기간동안 특허를 내지 않고도 영업비밀로 보호되어 왔던 코카콜라의 예에서 보듯, 핵심 기술을 영업비밀로 보호하는 것은 경쟁 우위를 유지하는 강력한 수단이 될 수 있습니다. 금양 역시 30년 넘게 축적해온 발포제 기술 노하우를 바탕으로 배터리 소재 분야에서 독자적인 경쟁력을 확보했을 가능성이 높습니다.
발포제 기술은 미세 기공을 제어하여 소재의 균일성과 성능을 향상시키는 핵심 기술로, 금양은 이를 이차전지 양극재 제조에 성공적으로 접목시켰습니다. 이는 쉽게 모방할 수 없는 기술이며, 특허 공개 없이도 시장에서 차별화된 경쟁력을 유지할 수 있는 핵심 자산입니다.
따라서 금양의 특허 전략을 제대로 이해하기 위해서는 단순히 숫자에만 집중할 것이 아니라, 그들이 보유한 기술의 본질과 시장에서의 경쟁력을 균형 잡힌 시각으로 평가해야 합니다.
넘쳐나는 정보의 홍수 속에서 금양 특허에 대한 객관적인 정보를 직접 확인해보고자 특허청에서 금양과 관련된 특허정보를 검색해서 정리해보았습니다.

양극활물질, 이의 제조방법, 및 상기 양극활물질을 포함하는 리튬이차전지(A cathode active material, method of preparing the same, lithium secondary battery comprising the cathode active material)
출원번호(일자) : 1020220143056(2022.10.31)
출원인 : 주식회사 에스엠랩, 폭스바겐 악티엔 게젤사프트
본 발명은 96몰% 이상의 니켈을 포함하고 망간 원소를 포함하지 않으며 결정 구조 내 전이금속 자리에 치환된 티타늄 (Ti)의 비율이 400ppm 내지 1,000ppm 미만인 리튬 니켈계 전이금속 산화물 입자를 포함하되, 상기 리튬 니켈계 전이금속 산화물 입자 표면으로부터 입자 중심 방향으로 알루미늄(Al) 및 코발트(Co) 원자의 농도가 변화하는 농도구배영역을 포함하고, 상기 농도구배영역 중 코발트 원자 농도의 변화 기울기의 절대값(A) 및 알루미늄 원자의 농도 변화 기울기의 절대값(B)은 A003e#B를 만족하는 양극활물질, 이의 제조방법 및 이를 포함하는 이차전지에 관한 것이다.

발명의 효과
[0018] 일 측면에 따른 양극활물질은 96몰% 이상의 니켈을 포함하고 망간 원소를 포함하지 않으며, 결정 구조 내 전이금속 자리에 치환된 티타늄 (Ti)의 비율이 400ppm 내지 1,000ppm 미만이고, Co 및 Al 농도 구배를 갖는 농도구배영역을 가지며, 상기 농도구배영역 중 코발트 원자 농도의 변화 기울기의 절대값(A) 및 알루미늄 원자의 농도 변화 기울기의 절대값(B)은 A>B를 만족하는 것에 의하여 높은 전극밀도에서도 입자의 부서짐이 없으며, Ni 이온을 안정화시킴으로써 단위 체적당 용량 증가 및 수명 안정성을 확보할 수 있다.

수축률이 향상된 혼합발포제 포함하는 수지 조성(A resin composition with hybrid blowing agents which are improved shrinkage)
출원번호(일자) : 1020180113132 (2018.09.20)
출원인 : 주식회사 금양
본 발명은 화학적 발포제 및 물리적 발포제를 포함하는 혼합발포제에 관한 것으로, 구체적으로 화학적 발포제 및 물리적 발포제를 포함하는 혼합발포제 및 이를 포함하는 수지 조성물을 제공한다. 특히, 무기계의 화학적 발포제와 열팽창성 미소구인 물리적 발포제를 혼합한 혼합발포제를 상기 수지 조성물에 적용하여 종래의 문제점을 해결하는 것이 특징이다.
백색도가 향상된 복합발포제를 포함하는 수지 조성(A resin composition with hybrid blowing agents which are improved White Index)
출원번호(일자) : 1020180113133 (2018.09.20)
출원인 : 주식회사 금양
본 발명은 화학적 발포제 및 물리적 발포제를 포함하는 복합 발포제에 관한 것으로, 구체적으로 화학적 발포제 및 물리적 발포제를 포함하는 복합 발포제 및 이를 포함하는 수지 조성물을 제공한다. 특히, 아조계의 화학적 발포제와 열팽창성 미소구인 물리적 발포제를 혼합한 복합 발포제를 상기 수지 조성물에 적용하여 종래의 문제점을 해결하는 것이 특징이다.
친환경 발포제 조성물 및 이를 이용하여 제조된 친환경 발포체(Eco-friendly blowing agent composition and eco-friendly foam manufactured using the same)
출원번호(일자) : 1020200129337(2020.10.07)
출원인 : 주식회사 금양
본 발명은 열 분해하여 가스를 발생시키는 히드라지드계 발포제, 열팽창성 미소구 및 발포 시 발생하는 유해가스를 포집하여 제거하는 물질을 포함하여 유해성분이 발생되지 않는 발포제 조성물을 이용하여 제조된 친환경 발포체에 관한 것이다.
친환경 발포제를 포함하는 발포성 마스터 배치 및 이의 제조방법(FOAMABLE MASTER BATCH COMPRISING ECO-FRIENDLY BLOWING AGENT AND MANUFACTURING METHOD THEREOF)
출원번호(일자) : 1020220094548(2022.07.29)
출원인 : 주식회사 금양
본 발명은 친환경 발포제를 포함하는 발포성 마스터 배치 및 이의 제조방법에 관한 것이다.

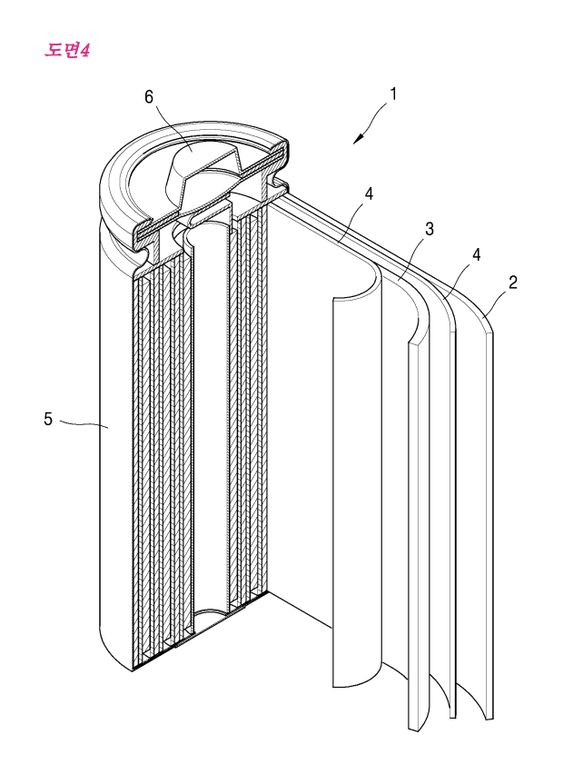
함습성이 개선된 이차전지(Secondary battery with improved moisture resistance)
출원번호(일자) : 1020230179876(2023.12.12)
출원인 : 주식회사 금양
전극 조립체의 접힌 노치부와 이에 용접되는 접전체가 전극 조립체의 전체를 덮지 않도록 설계함으로써 전해액 투입 시 함습성이 개선된 이차전지가 개시된다. 본 발명의 일 측면에 따른 함습성이 개선된 이차전지는 양극판, 음극판, 그리고 세퍼레이터가 적층되고 권취 축을 중심으로 권취되며, 상기 양극판 또는 음극판의 노치부가 접혀 용접될 수 있도록 형성된 전극 조립체; 및 상기 전극 조립체의 상기 노치부를 매개로 용접된 집전체;를 포함하고, 상기 노치부는 상기 권취 축을 중심으로 방사 방향을 따라 띠 형태로 형성되고, 복수개가 형성될 수 있다.

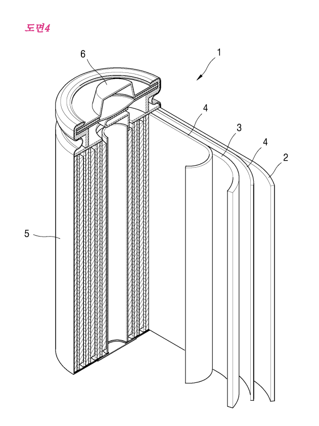
부력봉을 이용한 운송수단용 연료전지 시스템의 워터트(Water Trap of Fuel Cells System for Vihicle Using Floating Rod)
출원번호(일자) : 1020220157257(2022.11.22)
출원인 : 금양이노베이션 주식회사
본 발명은 해상운송수단 등에 적용된 연료전지 시스템의 워터트랩 기능을 최적화하기 위해 운행중 출렁임에 따른 응축수의 수위변동에 유연하게 대응할 수 있도록 수위센싱 방식을 개선하여 워터트랩의 오작동을 줄일 수 있는 운송수단용 연료전지 시스템의 워터트랩에 관한 것으로, 응축수실의 상부센서는 워터트랩 커버의 정중앙에 설치되는 센싱접점(108)과 부력봉(103)의 꼭대기에 설치된 센싱금속(109)의 접촉여부를 감지할 수 있도록 구성하되, 상기 부력봉(103)의 일단은 파이프형상의 부력봉 가이드(102)의 내부에서 직선운동이 가능한 구조이고 상기 부력봉(103)의 타단은 중공볼의 상부에 일체로 결합되는 구조이며, 중공볼(105)은 횡방향 중심축에 근접한 상반구 쪽에 링(Ring) 형상의 날개부(104)를 구비하여 응축수의 수위변동에 따라 승・하강이 가능하도록 구성되고, 하부센서는 응축수실의 저면에 매립되어 중공볼(105)의 하중을 감지할 수 있는 터치센서(106)로 이루어지며, 상기 상부센서와 하부센서의 감지신호에 따라 드레인벨브의 개폐동작을 컨트롤할 수 있는 제어부를 포함하여 구성된 것을 특징으로 한다.

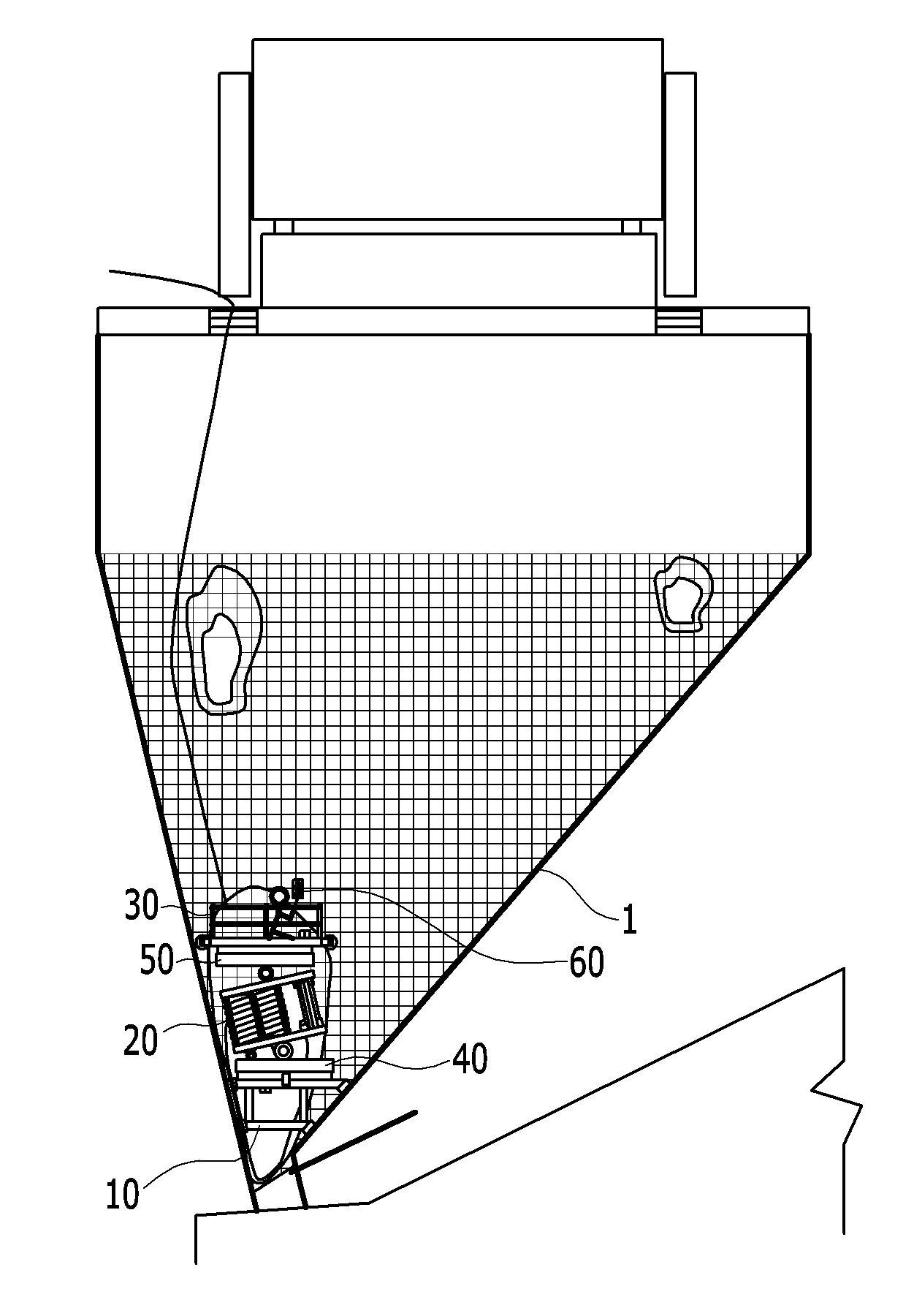
반응가스 전달기능이 강화된 연료전지의 분리(Separator of fuel cell with enhanced reaction gas delivery function)
출원번호(일자) : 1020220018097(2022.02.11)
출원인 : 금양이노베이션 주식회사
본 발명은 연료전지에 공급되는 반응가스의 흐름에 의도적인 난류발생을 유도하기 위해 분리판의 유로구조를 변경하여 가스확산층(GDL)으로 반응가스가 원활하게 전달되도록 하는 분리판에 관한 것으로, 복수의 채널부와 랜드부를 포함하여 구성하되, 랜드부는 가스확산층(GDL)에 면접촉으로 결합되고, 채널부는 가스확산층과 이격된 공간을 형성하도록 지지되며, 그 이격된 공간은 반응가스를 가스확산층(GDL)으로 전달할 수 있는 유로로서의 기능을 수행하되, 유로의 내부에는 일정간격의 스키점프대형 요철이 길이방향으로 배열되어 있는 구조로 이루어지며, 상기 스키점프대형 요철은 반응가스의 흐름방향을 기준으로 급경사부, 평탄부, 완경사부를 차례로 구비하되, 상기 완경사부의 길이는 평탄부의 길이보다 길고, 평탄부의 길이는 급경사부의 길이보다 길게 형성하는 것을 특징으로 한다. 본 발명에 의하면, 반응가스 유로 내에 정체류 구간(Dead Zone)의 발생을 방지하여 GDL로의 반응가스 전달기능을 강화할 수 있고, 반응부산물(H 2 O)의 원활한 배출로 연료전지의 출력성능을 향상시킬 수 있는 효과가 있다.

현탁액의 점도를 높여 입자 분산성을 향상시키는 열팽창성 미소구의 제조 방법(PROCESS FOR PRODUCTION OF THERMALLY EXPANDED MICROSPHERE WHICH PARTICLE DISPERSIBILITY IS IMPROVED BY INCREASING VISCOSITY OF SUSPENSION)
출원번호(일자) : 1020170156351(2017.11.22)
출원인 : 주식회사 금양
본 발명은 열팽창성 미소구의 제조 방법에 관한 것으로서, 합성반응이 진행되는 시점 전까지 현탁액 자체를 전단에너지가 잘 전달될 수 있는 상태로 만들어주어 전체적으로 효율적인 입자 분산이 이루어질 수 있도록 하는 열팽창성 미소구의 제조 방법을 제공하는데 주된 목적이 있는 것이다. 상기한 목적을 달성하기 위해, 발포제 역할을 하는 탄화수소와 니트릴계 모노머로 이루어진 유상을 수상과 혼합하여 현탁액을 제조하는 단계; 상기 제조된 현탁액에 수상에 용해될 수 있는 전분을 첨가하는 단계; 및 열팽창성 미소구를 얻기 위하여 상기 전분이 첨가된 현탁액을 일정 압력에서 가열하는 동시에 회전 전단력을 가하여 합성하는 단계를 포함하는 열팽창성 미소구의 제조 방법이 개시된다.

원통형 배터리 제조 장치 및 방법(Cylindrical battery manufacturing apparatus and method)
출원번호(일자) : 1020230138506(2023.10.17)
출원인 : 주식회사 금양
원통형 배터리 제조 장치가 개시된다. 본 발명의 일 측면에 따른 원통형 배터리 제조 장치는, 전극 조립체를 포함하는 원통형 배터리를 제조하는 원통형 배터리 제조 장치에 있어서, 지지부; 상기 지지부의 상측에 배치되고, 상기 원통형 배터리를 고정시키는 고정부; 및 상기 고정부와 이격되어 상기 지지부의 상측에 배치되고, 상기 원통형 배터리의 전극 조립체의 단부를 향하여 이동되어 가압하면서 진동에 의해 가압하는 진동 가압부; 를 포함할 수 있다.

발포제 조성물 및 이를 포함하는 발포체(composition for form and form having the same)
출원번호(일자) : 1020230016236(2023.02.07)
출원인 : 주식회사 금양
본 발명에 따른 발포제 조성물은 히드라지드계 발포제; 가교제; 및 고급 아민 화합물;을 포함하고, 발포 온도가 110 ℃ 이상 및/또는 155 ℃ 이하의 범위 내일 수 있으며, 이를 통해 유해 물질의 배출을 방지하면서도 에너지 사용량 및 탄소 배출량을 저감할 수 있다.

애노드 집전체(Anode Collector)
출원번호(일자) : 1020230102134(2023.08.04)
출원인 : 주식회사 금양
애노드 집전체가 제공된다. 본 발명의 일 측면에 따른 애노드 집전체는 애노드 및 캐소드가 제1 방향으로 연장되는 코어를 중심으로 권취되는 전극 조립체의 상기 제1 방향 측을 지지하는 애노드 집전체에 있어서, 판상으로 형성되는 베이스; 상기 베이스의 둘레로부터 돌출되는 탭 접지 날개; 및 상기 베이스의 둘레로부터 돌출되고 상기 제1 방향으로 절곡되는 하우징 날개; 를 포함하고, 상기 베이스에는 상기 코어의 제1 방향 측에 위치하는 제1 관통홀이 형성되고, 상기 베이스에는 상기 제1 관통홀의 외측에 형성되는 제2 관통홀이 형성될 수 있다.

원통형 배터리 제조 장치 및 방법(Cylindrical battery manufacturing apparatus and method)
출원번호(일자) : 1020230138505(2023.10.17)
출원인 : 주식회사 금양
원통형 배터리 제조 장치가 개시된다. 본 발명의 일 측면에 따른 원통형 배터리 제조 장치는, 전극 조립체를 포함하는 원통형 배터리를 제조하는 원통형 배터리 제조 장치에 있어서, 하우징; 상기 하우징과 결합되고, 상기 원통형 배터리를 고정시키는 고정부; 및 상기 하우징과 결합되고, 상기 원통형 배터리의 전극 조립체의 단부를 회전하면서 가압하는 회전 가압부; 를 포함할 수 있다.

발포체의 제조 방법 및 이 제조 방법으로 제조된 발포체(Method of manufacturing form and form manufactured by thereof)
출원번호(일자) : 1020230016235(2023.02.07)
출원인 : 주식회사 금양
본 발명의 일 실시형태는 에틸렌 비닐 아세테이트(Ethylene Vinyl Acetate, EVA)계 수지, 히드라지드계 발포제 및 고급 아민 화합물을 포함하는 제1 조성물을 준비하는 단계; 제 1 조성물에 가교제를 혼합하여 제2 조성물을 준비하는 단계; 및 110 ℃ 이상 및/또는 155 ℃ 이하의 온도에서 제2 조성물을 발포하는 단계;를 포함하는 발포체의 제조 방법을 제공할 수 있다.

고무 매트 조성물, 이를 이용하여 고무 매트를 제조하는 방법 및 이를 이용하여 제조된 고무 매트(Rubber mat composition, a method of manufacturing a rubber mat using the same, and a rubber mat manufactured through this method)
출원번호(일자) : 1020210068814(2021.05.28)
출원인 : 주식회사 금양 케이와이에코 주식회사
본 발명은 고무 매트 조성물, 이를 이용하여 고무 매트를 제조하는 방법 및 이 방법을 통해 제조된 친환경 고무 매트에 관한 것으로, 보다 구체적으로 히드라지드계 발포제, 열팽창성 미소구를 포함하는 물리적 발포제 및 발포를 통해 방출되는 이산화항 등 유독 가스를 제거할 수 있는 발포 첨가제를 포함하는 발포 혼합물을 사용하여 친환경 고무 매트를 제조하는 방법 및 이 방법을 통해 제조된 친환경 고무 매트에 관한 것이다.
발포제의 친환경적 제조방법(Eco-friendly manufacturing method of foaming agent)
출원번호(일자) : 1020200145375(2020.11.03)
출원인 : 주식회사 금양
본 발명은 친환경 발포제의 제조방법에 관한 것으로써, 본 발명에 따른 친환경 발포제의 제조방법에 따라 친환경 발포제를 제조하면, 기존 제조방법을 통해 제조한 발포제에 비하여 암모니아성 질소 배출이 훨씬 저감되거나 배출되지 않을 수 있으므로 친환경적이다. 뿐만 아니라, 암모니아성 질소로 인해 생기는 부산물이 발생하지 않으므로 순도 높은 친환경 발포제를 생산할 수 있다.

캐소드 집전체(Cathode Collector)
출원번호(일자) : 1020230103278(2023.08.08)
출원인 : 주식회사 금양
캐소드 집전체가 제공된다. 본 발명의 일 측면에 따른 캐소드 집전체는 애노드 및 캐소드가 제1 방향으로 연장되는 코어를 중심으로 권취되는 전극 조립체의 상기 제1 방향의 반대 방향 측을 지지하는 캐소드 집전체에 있어서, 판상으로 형성되는 캐소드 베이스; 를 포함하고, 상기 캐소드 베이스에는, 상기 캐소드 베이스의 중심부의 외측에 형성되는 관통홀; 상기 캐소드 베이스의 상기 제1 방향 측 면의 중심부로부터 외측에 형성되고 상기 캐소드의 일 측에 접합되는 제1 접합부; 및 상기 캐소드 베이스의 상기 제1 방향의 반대 방향 측 면의 중심부에 형성되고 상기 전극 조립체가 삽입되는 하우징에 구비되는 캐소드 단자에 접합되는 제2 접합부; 가 형성될 수 있다.

백색도가 향상된 발포제가 적용된 수지 조성물 및 이의 제조방법(A resin composition to which a foaming agent having improved whiteness is applied and manufacturing method thereof)
출원번호(일자) : 1020180112934(2018.09.20)
출원인 : 주식회사 금양
본 발명은 화학적 발포제를 포함하는 발포성 수지 조성물에 관한 것으로, 구체적으로 아조디카본아마이드 및 p-톨루엔-술포닐세미카바자이드를 포함하는 화학적 발포제 및 이를 포함하고 백색도를 향상시킨 발포성 수지 조성물에 관한 것이다. 특히, 발포제로 아조디카본아마이드를 사용할 경우 변색이 진행되는 문제를 해결하기 위해 아조디카본아마이드 및 p-톨루엔-술포닐세미카바자이드를 적정 비율로 혼합한 화학적 발포제를 제시하였고, 그로인해 우수한 발포율을 가지면서 백색도가 향상된 발포체를 제공하는 것이 본 발명의 특징이다.

친환경 발포제를 이용한 발포체의 제조방법(MANUFACTURING METHOD OF A FOAM USING AN ECO-FRIENDLY BLOWING AGENT)
출원번호(일자) : 1020220141348(2022.10.28)
출원인 : 주식회사 금양
본 발명은 친환경 발포제를 이용한 발포체의 제조방법에 관한 것이다.

포니 하이드라이즈(Sulfonyl Hydrazide)를 포함하는 고분자 발포제의 제조방법(Manufacturing methods of polymer foaming agent that includes a Sulfonyl Hydrazide)
출원번호(일자) : 1020120131305(2012.11.20)
출원인 : 부산대학교 산학협력단 주식회사 금양
본 발명은 슬포니 하이드라이즈(Sulfonyl Hydrazide)를 포함하는 고분자 발포제 및 그의 제조방법에 관한 것으로, 이를 더욱 상세하게 설명하면, 가열에 의해 분해되어 발포체를 형성할 수 있는 설포니 하이드라이즈(Sulfonyl Hydrazide) 관능기를 포함하는 새로운 모노머(monomer). MAOBSH {methacryloyl oxybis(benzenesulfonyl hydrazide)} 는 methacryloyl chloride와 OBSH {4,4'-oxybis(benzenesulfonyl hydrazide)}로부터 합성되었고, 용매 THF하에 개시제 AIBN를 사용하여 70℃에서 고분자 발포제(polymeric foaming agent, PFA) 인 poly(MAOBSH)를 얻었으며, 상기 고분자 발포제가 혼입된 발포체가 OBSH를 혼입한 더 뛰어난 표면과 미세한 셀 구조를 보였으며 신장 및 영구압축 줄음율과 같은 기계적 물성들이 뛰어난 것으로, 본 발명의 고분자 발포제와 고분자 재료들과의 상용성이 더 좋아지는 특징을 가진 슬포니 하이드라이즈(Sulfonyl Hydrazide)를 포함하는 고분자 발포제 및 그의 제조방법에 관한 것이다.

전자선 가교를 통한 친환경 발포 바닥재 조성물 및 이의 제조방법(Eco-friendly foam flooring composition through electron beam crosslinking and manufacturing method thereof)
출원번호(일자) : 1020210146839(2021.10.29)
출원인 : 주식회사 금양 케이와이에코 주식회사
본 발명은 친환경 발포 바닥재 조성물 및 이의 제조방법에 관한 것으로, 더욱 상세하게는 EVA수지 100 중량부, 상기 EVA수지 100 중량부에 대하여, 폴리클로로프렌 0.1~7 중량부, 열 안정제 0.1~1 중량부 및 하이브리드형 발포제 10~20 중량부를 포함하는 것을 특징으로 하는 친환경 발포 바닥재 조성물에 관하여 개시한다. 또한, 본 발명은 상기 친환경 발포 바닥재 조성물의 제조방법으로서, 상기 친환경 발포 바닥재 친환경 발포 바닥재 조성물을 준비하는 단계, 상기 준비된 원료를 70~100℃에서 혼합하는 단계, 상기 혼합물을 70~80℃에서 압출하여 시트 형태로 제조하는 단계, 상기 제조된 시트를 전자선 가교(Cross link)하는 단계 및 상기 가교된 시트를 180~190℃에서 발포하는 단계를 포함하는 것을 특징으로 하는 전자선 가교를 통한 친환경 발포 바닥재의 제조방법에 관하여 개시한다.

EVA 발포체 제조를 위한 수지 개질제(Resin modifier for ethylene-vinyl acetate copolymer with improved foaming performance)
출원번호(일자) : 1020130131197(2013.10.31)
출원인 : 주식회사 금양
본 발명은 EVA 발포체 제조를 위한 수지 개질제에 관한 것으로, 더욱 상세하게는 EVA 수지에 발포제를 첨가할 때 함께 추가하는 구성으로 EVA 수지를 개질하여 고배율 및 초저비중으로 발포 가능하도록 함과 동시에 EVA 수지의 물성이 최대한 유지되도록 함으로써 품질이 우수하고 경제적으로 효율적인 EVA 발포체의 제조를 가능하게 하는 EVA 발포체 제조를 위한 수지 개질제에 관한 것이다. 이러한 본 발명은, 주제인 저밀도 폴리에틸렌 수지, 수지 개질제인 산기를 가진 에틸렌 기반 공중합체, 발포속도 조절제인 산화아연, 윤활제인 스테아르산 아연염, 및 분산윤활제인 스테아린산을 포함하여 구성되는 혼합물인 것을 특징으로 하는 EVA 발포체 제조를 위한 수지 개질제를 기술적 요지로 한다.

시뮬레이터 게임기(SIMULATOR GAME MACHINE)
출원번호(일자) : 1020000051195(2000.08.31)
출원인 : 주식회사 금양
본 발명은 단일의 작동축에 의하여 직선왕복운동과 회전운동을 병행하여 수행할 수 있으며 안전한 수평중립위치로 자동복귀할 수 있는 시뮬레이터 게임기를 개시한다. 본 발명에 따른 시뮬레이션 게임기는 프레임과, 프레임의 상부에 자유롭게 운동할 수 있도록 설치되는 모션베이스와, 모션베이스의 조작자가 조작할 수 있는 조작입력수단이 제공되어 있는 캐빈과, 모션베이스의 선단과 후단에 연결되며 프레임에 지지되어 있는 작동축으로 구성되어 있는 모션유닛과; 모션유닛의 모션베이스를 직선왕복운동과 회전운동시킬 수 있도록 작동축과 작동적으로 연결되어 있는 유압작동장치와; 유압작동장치에 작동유를 공급하는 유압파워유닛과; 모션유닛의 전방에 설치되고 화면표시수단과 컨트롤러로 구성되어 있는 전기유닛으로 이루어져 있다. 본 발명에 의하면, 작동축에 의하여 직선왕복운동과 회전운동을 병행하여 수행할 수 있으며, 구성요소들에 고장 또는 장애가 발생하거나 갑작스러운 정전 등에 의하여 조작자가 탑승한 캐빈이 동작중에 정지하더라도 자중에 의한 평형기구구조에 의하여 조작자가 탑승한 캐빈은 안전한 수평중립위치로 자동복귀할 수 있게 된다. 또한, 본 발명에 적용되는 모션유닛, 전기유닛, 유압파워유닛 등이 독립적인 장치로 단순하게 구성됨으로써 시뮬레이터 게임기의 설치 및 분리가 간편하게 된다.

양극활물질, 이의 제조방법, 및 이를 포함하는 리튬이차전지(A cathode active material, method of preparing the same, and lithium secondary battery including the cathode active material)
출원번호(일자) : 1020210157737(2021.11.16)
출원인 : 주식회사 에스엠랩
본 명세서세 기술된 화학식 1로 표시되는 리튬 전이금속 산화물 입자; 및 상기 리튬 전이금속 산화물 입자는 입자 표면으로부터 입자 중심 방향으로 Co 원소의 농도가 감소하는 Co 농도 구배 영역을 포함하는 양극활물질, 이를 포함하는 리튬 이차전지에 관한 것이다.

양극활물질, 이의 제조방법 및 이를 포함하는 양극을 포함한 리튬이차전지(A cathode active material, method of preparing the same, and lithium secondary battery comprising a cathode comprising the cathode active material)
출원번호(일자) : 1020190100534(2019.08.16)
출원인 : 주식회사 에스엠랩
W 및 B를 포함하는 리튬 전이금속 산화물을 포함하는 코어; 및 상기 코어 표면에 배치된 인-함유 코팅층;을 포함하는 양극활물질, 이를 포함하는 리튬 이차전지, 및 이의 제조방법에 관한 것이다.

리튬 이차전지용 양극활물질, 그의 제조방법 및 이를 포함하는 리튬이차전지(A positive electrode active material for lithium secondary battery, method of preparing the positive electrode active material, and lithium secondary battery including the positive electrode active material)
출원번호(일자) : 1020200052907(2020.04.29)
출원인 : 주식회사 에스엠랩
복수의 일차 입자, 복수의 일차 입자의 응집체를 포함하는 적어도 하나의 이차 입자, 또는 이들의 조합을 포함하고, 상기 일차 입자는 α-NaFeO 2 형의 결정구조를 갖고, Ni, Co, Mn 및 Al 중 적어도 하나를 포함하는 리튬 전이금속 산화물을 포함하고, 상기 결정 구조의 결정 격자 중 전이금속 자리의 일부가 도핑 원소 M으로 치환되고, 결정 격자 중 산소 원소 자리의 일부가 황(S) 원소로 치환되며, 상기 M은 Mg, Ti, Zr, W, Si, Ca, B, V, 또는 이들의 조합을 포함하고, 상기 리튬 전이금속 산화물 중 상기 M이 1,000 ppm 내지 4,000 ppm으로 포함되고, 상기 리튬 전이금속 산화물 중 상기 S가 1,000 ppm 이하로 포함된 양극활물질; 이의 제조방법; 및 이를 포함하는 리튬 이차전지에 관한 것이다.

양극활물질, 이의 제조방법 및 이를 포함하는 양극을 포함한 리튬이차전지(A cathode active material, method of preparing the same, and lithium secondary battery comprising a cathode comprising the cathode active material)
출원번호(일자) : 1020190018822(2019.02.18)
출원인 : 주식회사 에스엠랩
하기 화학식 1로 표시되는 화합물을 포함하는 코어; 및 상기 코어 표면에 배치된 인-함유 화합물을 포함하는 코팅층;을 포함한 양극활물질: [화학식 1] Li a Zr α W β M 1-α-β O 2-b S b 상기 화학식 1 중, M, Zr, W, a, α, β, b의 정의는 본 명세서를 참조한다.

양극활물질 제조용 도가니 및 도가니 조립(Crucible and crucible assembly for preparing cathode active material)
출원번호(일자) : 1020190114959(2019.09.18)
출원인 : 주식회사 에스엠랩
본 발명은 양극활물질 제조용 도가니 조립체를 제공한다. 본 발명은 상부가 개방되고, 소정의 내부 공간을 가지는 제1 도가니, 및 상기 제1 도가니의 아래에 배치되며, 각 측벽의 상측단에 배치되되 기 설정된 개방면적을 가지는 절개 홈을 가지는 제2 도가니를 포함한다.

양극활물질, 이의 제조방법 및 이를 포함하는 양극을 포함한 리튬이차전지(A cathode active material, method of preparing the same, and lithium secondary battery comprising a cathode comprising the cathode active material)
출원번호(일자) : 1020220105070(2022.08.22)
출원인 : 주식회사 에스엠랩
Mn 원소의 몰비가 0.5 이상이고, 나트륨(Na) 및 황(S) 원소의 몰비의 합이 0003c#Na+S003c#0.025인 리튬 전이금속 산화물을 포함하는 양극활물질, 이의 제조방법 및 이를 포함하는 리튬 이차전지에 관한 것이다.

양극활물질, 이의 제조방법 및 상기 양극활물질을 포함하는 양극을 포함한 리튬이차전지(A cathode active material, method of preparing the same, and lithium secondary battery comprising a cathode comprising the cathode active material)
출원번호(일자) : 1020190017406(2019.02.14)
출원인 : 울산과학기술원, 주식회사 에스엠랩
본 발명에 의한 전사적 전략경영 모델에 기반한 온라인 기업 경영 진단 방법은, (A) 기업의 전략을 포함하는 기업 정보가 온라인을 통해 입력되는 경우, 경영 진단 서버에서 상기 입력된 기업 정보를 획득하는 단계; (B) 상기 기업의 전략이 기업의 구조와 과정을 거쳐 고객들에게 전달되어 성과가 나타나는지를 판단할 수 있는 설문 항목들을 상기 경영 진단 서버가 온라인을 통해 상기 기업의 임직원 및 고객들에게 제공하는 단계; (C) 상기 경영 진단 서버가 온라인을 통해 상기 설문 항목들에 대한 임직원의 응답 및 고객들의 응답을 획득하는 단계; 및 (D) 상기 획득된 임직원의 응답 및 고객들의 응답에 기반하여 상기 기업의 경영에 대한 진단을 실시하고 온라인을 통해 기업 경영 진단 결과를 제공하는 단계를 포함하여, 기업의 통합된 전략이 조직 구조와 과정을 거쳐 내부 직원의 행동과 마음에 내재화되어 외부 고객에게 전달되는 전 과정을 온라인으로 기업 스스로 진단할 수 있기 때문에, 기업 전략이 고객에게 전달되는 과정 중 취약한 부문을 도출하여 기업경영의 문제점을 정확하게 파악할 수 있고, 문제점을 해결하기 위한 해결 방안을 제공할 수 있다.

자료출처 : 특허청, 한국특허정보원
'제테크' 카테고리의 다른 글
| 유가·환율 변동성 확대 중! 5월 마지막 주, 시장은 무엇을 예측 중인가 (2) | 2025.06.01 |
|---|---|
| IMF 경고와 미 국채 쇼크…2025년 세계 경제 어디로 가나? (4) | 2025.05.27 |
| 포스코, 2차전지 소재 글로벌 리더를 향한 힘찬 발걸음: 제3회 배터리 소재 밸류 데이 분석 및 시사점 (0) | 2024.07.18 |
| 4695 배터리 혁명: 금양 & 에스엠랩, 니켈로 쓴 미래의 에너지 (2) | 2024.03.30 |
| 디딤이앤에프 대주주의 이색 공시: '필사즉생, 필생즉사'와 '흡성대법'으로 주목받다 (51) | 2024.03.25 |